Product Summary
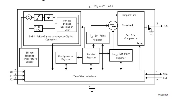
The LM75BIM-5 is a temperature sensor, Delta-Sigma analog-todigital converter, and digital over-temperature detector with I2C interface. The host can query the LM75BIM-5 at any time to read temperature. The open-drain Overtemperature Shutdown (O.S.) output becomes active when the temperature exceeds a programmable limit. This pin can operate in either Comparator or Interrupt mode. The host can program both the temperature alarm threshold (TOS) and the temperature at which the alarm condition goes away (THYST). In addition, the host can read back the contents of the LM75BIM-5 TOS and THYST registers. Three pins (A0, A1, A2) are available for address selection. The sensor powers up in Comparator mode with default thresholds of 80℃ TOS and 75℃ THYST.
Parametrics
LM75BIM-5 absolute maximum ratings: (1)Supply Voltage: -0.3V to 6.5V; (2)Voltage at any Pin: -0.3V to +VS + 0.3V; (3)Input Current at any Pin: 5 mA; (4)Package Input Current: 20 mA; (5)O.S. Output Sink Current: 10 mA; (6)O.S. Output Voltage: 5V; (7)Storage Temperature: −65℃ to +150℃; (8)Human Body Model: 1500V; (9)Machine Model: 100V.
Features
LM75BIM-5 features: (1)SOP-8 and Mini SOP-8 (MSOP)packages save space; (2)I2C Bus interface; (3)Separate open-draioutput pioperates as interrupt or comparator/thermostat output; (4)Register readback capability; (5)Power up defaults permit stand-alone operatioas thermostat; (6)Shutdowmode to minimize power consumption; (7)Up to 8 LM75s cabe connected to a single bus; (8)UL Recognized Component.
Diagrams

| Image | Part No | Mfg | Description | ![]() |
Pricing (USD) |
Quantity | ||||||||||||
|---|---|---|---|---|---|---|---|---|---|---|---|---|---|---|---|---|---|---|
![]() |
![]() LM75BIM-5 |
![]() National Semiconductor (TI) |
![]() Board Mount Temperature Sensors |
![]() Data Sheet |
![]()
|
|
||||||||||||
![]() |
![]() LM75BIM-5/NOPB |
![]() National Semiconductor (TI) |
![]() Board Mount Temperature Sensors |
![]() Data Sheet |
![]()
|
|
||||||||||||
![]() |
![]() LM75BIM-5+ |
![]() Maxim Integrated Products |
![]() Board Mount Temperature Sensors 2-Wire Digital Temp Snsr & Thrml Wtchdog |
![]() Data Sheet |
![]()
|
|
||||||||||||
![]() |
![]() LM75BIM-5+T |
![]() Maxim Integrated Products |
![]() Board Mount Temperature Sensors 2-Wire Digital Temp Snsr & Thrml Wtchdog |
![]() Data Sheet |
![]()
|
|
||||||||||||
(China (Mainland))










