Product Summary
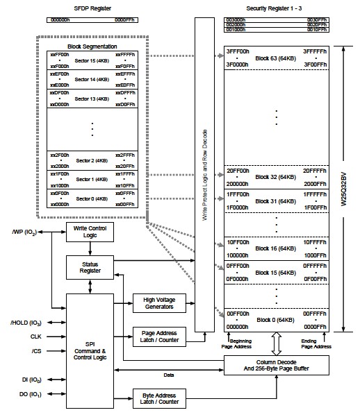
The W25Q32BVSIG is a (32M-bit) Serial Flash memory. The W25Q32BVSIG provides a storage solution for systems with limited space, pins and power. The 25Q series offers flexibility and performance well beyond ordinary Serial Flash devices. They are ideal for code shadowing to RAM, executing code directly from Dual/Quad SPI (XIP) and storing voice, text and data. The device operates on a single 2.7V to 3.6V power supply with current consumption as low as 4mA active and 1μA for power-down. The W25Q32BVSIG array is organized into 16,384 programmable pages of 256-bytes each. Up to 256 bytes can be programmed at a time. Pages can be erased in groups of 16 (4KB sector erase), groups of 128 (32KB block erase), groups of 256 (64KB block erase) or the entire chip (chip erase). The W25Q32BVSIG has 1,024 erasable sectors and 64 erasable blocks respectively. The small 4KB sectors allow for greater flexibility in applications that require data and parameter storage.
Parametrics
W25Q32BVSIG absolute maximum ratings: (1)Supply Voltage VCC: -0.6 to +4.6 V; (2)Voltage Applied to Any Pin VIO Relative to Ground: -0.6 to VCC+0.4 V; (3)Transient Voltage on any Pin VIOT <20nS Transient; (4)Relative to Ground: -2.0V to VCC+2.0V V; (5)Storage Temperature TSTG: -65 to +150 ℃; (6)Electrostatic Discharge Voltage VESD Human Body Model: -2000 to +2000 V.
Features
W25Q32BVSIG features: (1)Software and Hardware Write-Protect; (2)Top/Bottom, 4KB complement array protection; (3)Power Supply Lock-Down and OTP protection; (4)64-Bit Unique ID for each device; (5)Discoverable Parameters (SFDP)Register; (6)3X256-Byte Security Registers with OTP locks; (7)Volatile & Non-volatile Status Register Bits; (8)104MHz Dual SPI / 80MHz Quad SPI clocks; (9)208/320MHz equivalent Dual/Quad SPI; (10)40MB/S continuous data transfer rate; (11)Up to 8X that of ordinary Serial Flash; (12)More than 100,000 erase/program cycles; (13)More than 20-year data retentio; (14)Low Instruction overhead; (15)Continuous Read with 8/16/32/64-Byte Wrap; (16)As few as 8 clocks to address memory; (17)Allows true XIP (execute in place)operation.
Diagrams

![]() |
![]() W25Q128BVEIG |
![]() |
![]() IC SPI FLASH 128MBIT 8WSON |
![]() Data Sheet |
![]() Negotiable |
|
||||||||||||||||||||||
![]() |
![]() W25Q128FVEIG |
![]() |
![]() IC FLASH SPI 128MBIT 8WSON |
![]() Data Sheet |
![]()
|
|
||||||||||||||||||||||
![]() |
![]() W25Q128FVFIG |
![]() |
![]() IC FLASH SPI 128MBIT 16SOIC |
![]() Data Sheet |
![]()
|
|
||||||||||||||||||||||
![]() |
![]() W25Q128FVSIG |
![]() |
![]() IC FLASH SPI 128MBIT 8SOIC |
![]() Data Sheet |
![]()
|
|
||||||||||||||||||||||
![]() |
![]() W25Q16BVSFIG |
![]() |
![]() IC SPI FLASH 16MBIT 16SOIC |
![]() Data Sheet |
![]()
|
|
||||||||||||||||||||||
![]() |
![]() W25Q16BVSSIG |
![]() |
![]() IC SPI FLASH 16MBIT 8SOIC |
![]() Data Sheet |
![]()
|
|
||||||||||||||||||||||
(China (Mainland))









