Product Summary
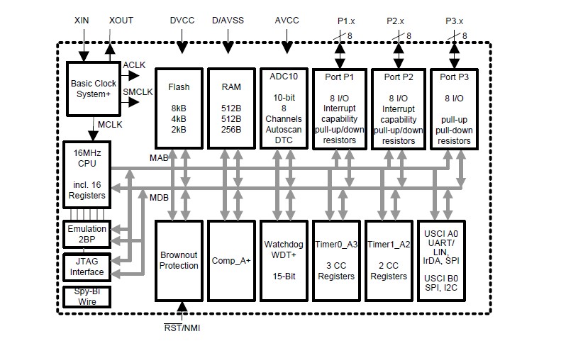
The MSP430F2122IPW is an ultra-low-power microcontroller. The MSP430F2122IPW consists of several devices featuring different sets of peripherals targeted for various applications. The architecture, combined with five low-power modes, is optimized to achieve extended battery life in portablemeasurement applications. The device features a powerful 16-bit RISC CPU, 16-bit registers, and constant generators that contribute to maximum code efficiency.The digitally controlled oscillator (DCO) allows wake-up from low-power modes to active mode in less than 1 μs. The MSP430F2122IPW is an ultra-low-power microcontroller with two built-in 16-bit timers, a fast 10-bit A/D converter with integrated reference and a data transfer controller (DTC), a comparator, built-in communication capability using the universal serial communication interface, and up to 24 I/O pins
Parametrics
MSP430F2122IPW absolute maximum ratings: (1)Low Supply-Voltage Range: 1.8 V to 3.6 V; (2)Active Mode: 200 μA at 1 MHz, 2.2 V.
Features
MSP430F2122IPW features: (1)Low Supply-Voltage Range, 1.8 V to 3.6 V; (2)Ultra-Low Power Consumption: Active Mode: 200 μA at 1 MHz, 2.2 V, Standby Mode: 0.7 μA, Off Mode (RAM Retention): 0.1 μA; (3)Ultra-Fast Wake-Up From Standby Mode in Less Than 1 μs; (4)16-Bit RISC Architecture, 62.5-ns Instruction Cycle Time; (5)16-Bit Timer0_A3 With Three Capture/Compare Registers; (6)16-Bit Timer1_A2 With Two Capture/Compare Registers; (7)On-Chip Comparator for Analog Signal Compare Function or Slope Analog-to-Digital (A/D)Conversion; (8)10-Bit 200-ksps A/Converter With Internal Reference, Sample-and-Hold, Autoscan, and Data Transfer Controller.
Diagrams

| Image | Part No | Mfg | Description | ![]() |
Pricing (USD) |
Quantity | ||||||||||||
|---|---|---|---|---|---|---|---|---|---|---|---|---|---|---|---|---|---|---|
![]() |
![]() MSP430F2122IPW |
![]() Texas Instruments |
![]() 16-bit Microcontrollers (MCU) 16B Ultra-Lo-Pwr Microcontroller |
![]() Data Sheet |
![]()
|
|
||||||||||||
![]() |
![]() MSP430F2122IPWR |
![]() Texas Instruments |
![]() 16-bit Microcontrollers (MCU) 16B Ultra-Lo-Pwr Microcntrlr |
![]() Data Sheet |
![]()
|
|
||||||||||||
(China (Mainland))









